Sí, leíste bien. Subaru amplia sus horizontes y ahora patenta lo que podría ser una motocicleta voladora.
Como si de ciencia ficción se tratara, llega este concepto, que ya tenía un par de años de desarrollo (las primeras patentes datan desde mediados de 2019).
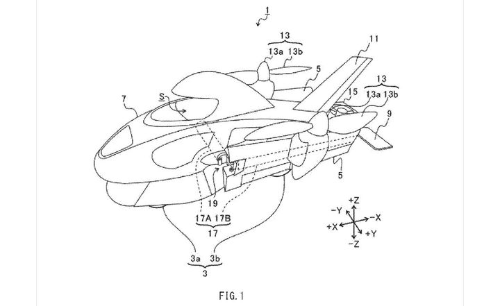
Podríamos pensar que se trata de una broma, ya que los dibujos muestran lo que parece ser un avión bajo y corto montado sobre una motocicleta, sin embargo, se trata de la segunda patente que se solicita al respecto.

Por otro lado, si alguien puede hacer esto realidad, es Subaru. La marca japonesa cuenta con una amplia experiencia en el segmento de la aviación con varios proyectos; los trabajos realizados con Bell y Boeing lo comprueban.
En los dibujos podemos ver un par de llantas, alguna hélice, alerones y estabilizadores. Con esta configuración, este nuevo producto puede despegar de manera vertical (VTOL), y desplegar las alas y ruedas cuando sea necesario.

En el modo “tierra”, las alas se doblan y repliegan junto a la carrocería; al momento de despegar, estas se extienden por completo. Al tomar altura, las ruedas se retraen y guardan en el fuselaje. Cada rueda se une al conjunto como lo haría en una motocicleta convencional son su propia suspensión.
También cuenta con un motor de combustión para mover la llanta motriz y un generador eléctrico para encargarse de los motores de las hélices. Para el sistema de dirección, en tierra es similar al de una motocicleta.

En el modo de vuelo se requieren más mecanismos para guiar este vehículo volador, como controladores, un sistema de dirección por cable y controles operados con los pies.
No hay certeza de que este prototipo se produzca, tal vez solo sea algún ejercicio de diseño para probar que las tecnologías de Subaru, usadas en helicópteros y aviones, pueden ser asequibles para más personas.