Tener asientos con función de masaje no es algo nuevo en el mundo automotriz: Ford la usa desde hace tiempo y hay otras marcas que igual lo hacen, así como el CT5-V Blackwing, que recién incluyó masajeador para la zona lumbar.
Al parecer, incluir volante con calefacción, humidificador de puros o espacio para champaña entre los asientos traseros ya no es suficiente: General Motor ha patentado un masajeador de pies para los autos de su gama alta. Y lo siento, pero no es para el conductor, sino que se trata de un sistema exclusivo para los ocupantes de la banca trasera.

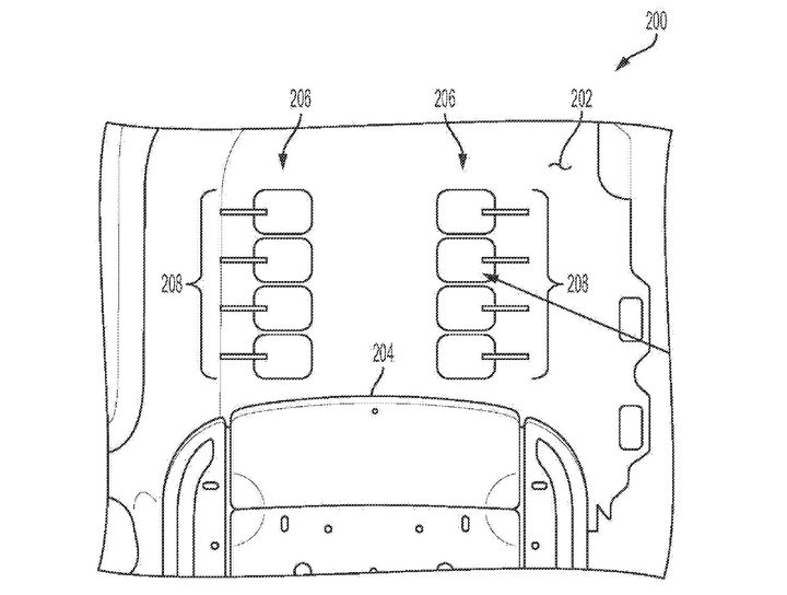
Con una patente solicitada durante agosto 2019 y publicada el 18 de febrero de 2021, General Motors anuncia su sistema de masaje para pies en el piso del vehículo. El documento describe como es la operación del dispositivo y en qué consisten sus componentes. El archivo de la aplicación pudo verse en el sitio GM Authority.
La base del sistema es por operación neumática (funcionamiento con aire) y está formado por una serie de elementos que son colocados en el piso de la parte trasera del automóvil, un mecanismo generador de presión y líneas neumáticas conectadas y comunicadas entre sí.

Los elementos se van a distribuir a lo largo del piso del auto y en la zona de los pies de los pasajeros traseros; un colector de aire y líneas serán manejadas por un controlador, el cual va a inflar bolsas de aire en la parte baje del vehículo.
El sistema se conforma de los siguientes componentes:
- Interfaz de usuario, en pantalla se muestran opciones predeterminadas o ajustables.
- Controlador, para la bomba de aire.
- Bomba de aire, para presurizar el controlador.
- Controlador, para proveer aire a los distintos elementos.
- Elementos neumáticos posicionados bajo los pies del pasajero.
Al ser equipamiento de lujo, podremos esperarlo en los modelos de gama alta, como serán los autos de Cadillac, léase Escalade o CT5-V. Con la cantidad de vehículos eléctricos que llegan, no sería sorpresa poder verlo en algún EV, por ejemplo, el Bolt EUV.