En caso de que no lo supieras, Amazon proyecta un mundo donde por los cielos surquen drones autónomos entregan paquetes que vienen de sus centros de despacho, derecho a las casas de los clientes.
El gigante del comercio digital lleva años trabajando en su máquina para Prime Air (la forma como han llamado este servicio) y a pesar de que existen estrictas regulaciones gubernamentales, Amazon no ha dejado de pensar en el futuro.
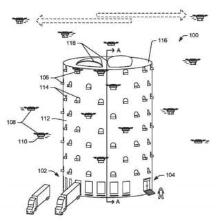
Como lo evidencian estas patentes, Amazon está pensando en construir unas torres desde donde saldrían cientos de drones con mercancía.
Estas patentes se enfocan específicamente en el diseño de dichas torres y sobre la forma en que podrían ser adaptadas para operar en áreas urbanas.

Las ilustraciones que incluyen en la patente muestran algo similar a una colmena de abejas. La “torre de drones” tendría numerosas entradas y salidas por dronde saldrían los drones. Por razones de eficiencia y velocidad, es entendible que Amazon quiera tener centros de despacho en áreas urbanas y cumplir así con los deseos que todos tenemos de obtener nuestros productos lo más pronto posible.
Sin embargo, la empresa tendría primero que satisfacer a los reguladores que podrían pensar que tantos mdrones volando por ahí podrían transformarse en un problema de seguridad para las personas que estén caminando en tierra y el potencial ruido que alteraría el bienestar de los habitantes que vivan cerca de las torres, en edificios aledaños.
Esta patente es un poco más viable que la muy utópica patente donde hay un centro de distribución que levita, con aeropuerto de drones incorporado.
Por supuesto, debemos aclarar que se trata de una patente y que muchas veces estas no llegan a ver la luz del día.