Mientras que varias compañías se están enfocando en soluciones individuales para la entrega de paquetes con drones, Walmart tiene una idea mucho más ambiciosa: un gigantesco almacén flotante lleno de drones de entrega.
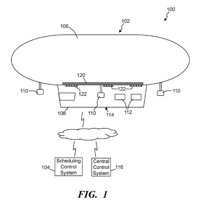
La solicitud de patente de Walmart describe un «sistema de transporte y lanzamiento aéreo lleno de gas, que comprende un sistema de propulsión de transporte” y “un sistema de control de navegación que controla la dirección del viaje del avión de transporte». Ciertamente parece que están describiendo a un zeppelin o dirigible.
El documento presentado explica que el compartimiento de transporte comprende un área de almacenamiento del sistema de aeronaves no tripuladas (UAS por sus siglas en inglés), que está configurada para recibir múltiples naves, y una bahía de lanzamiento que permite lanzarlas mientras la nave mayor de transporte está en vuelo, y mientras los drones llevan algún paquete para ser entregado.
Si eso suena familiar, es porque a Amazon se le concedió una patente para una idea prácticamente similar en el 2016, por lo que será interesante ver cómo la Oficina de Patentes y Marcas de los Estados Unidos manejará la aplicación de Walmart.
Sin embargo, una diferencia notable es la altitud a la que volarían los dirigibles. Mientras que el almacén flotante de Amazon se quedaría estacionario por encima de las nubes a 45,000 pies (unos 13,700 metros), el de Walmart flotaría en el aire mucho más abajo, entre 150 y 300 metros. Teniendo en cuenta potenciales problemas de batería de los drones, la idea de Walmart parece más sensata, aunque la estabilidad del dirigible quedaría a merced de las condiciones climáticas, mientras que a tal altura, la nave de Amazon debería estar bien lejos de los sistemas meteorológicos.
La idea de Walmart surge dos años después de que Amazon también pensó en el desarrollo de una plataforma de entrega de drones e indica en su patente: «Hay muchas maneras de distribuir y entregar los productos. Llevar el producto a una localización de entrega, sin embargo, puede causar retrasos indeseables, agregar costo y reducir rédito”. Allí es donde entra en juego su almacén flotante lleno de paquetes.
El dirigible se detendría en los almacenes en tierra de Walmart para ser cargado con paquetes y drones antes de levantar vuelo de nuevo, dirigiéndose hacia una ubicación óptima desde la cual sus drones pueden hacer numerosas entregas. Una vez que el dirigible esté vacío de paquetes, volvería a la base para cargar más, mientras las baterías de los drones se recargan.
Aunque es difícil no dejar volar la imaginación mientras escuchamos estas descripciones, hay que recordar que estas son solo patentes. Ninguna de las empresas, según nuestro conocimiento, tiene un prototipo funcional de este extraordinario diseño, y ninguna otra compañía hasta el momento tiene permiso para lanzar una máquina llena de drones al cielo.
No es seguro si alguna vez vemos llegar a la realidad los ambiciosos planes de Walmart o Amazon, pero al menos nos ofrece un poco de visión sobre las ideas que las compañías están considerando alrededor de sus respectivos servicios de entrega de drones, cuando finalmente sean aprobados.
