Era de esperarse. Si el futuro de la telefonía móvil son los dispositivos con pantalla flexible, era evidente que Apple no podía quedarse atrás y que está trabajando en un iPhone con pantalla plegable. Desde Samsung hasta Motorola, pasando por Flexpai y Xiaomi, y varios otros que se unen a la tendencia, los primeros modelos de teléfonos con pantallas plegables ya empezaron a llegar desde finales del 2018.
Pero después de que se descubriera una patente registrada por Apple para un dispositivo flexible, justo antes del inicio de la primera conferencia Unpacked de Samsung 2019 en la que la empresa surcoreana reveló su Galaxy Fold (que, por cierto, no estuvo exento de problemas y aún no vio la luz del día), ahora parece que los planes de Apple no se limitan solo a los teléfonos flexibles.
En efecto, un nuevo informe de UBS sugiere que los dispositivos plegables son parte del futuro de Apple, y aunque es posible que veamos uno el próximo año, es más probable un lanzamiento de 2021. Sin embargo, si esperabas un iPhone plegable, tal vez te sentirás decepcionado: parece que los planes de la compañía se centrarán en un iPad que se puede doblar.
Debemos tomar en cuenta de que las patentes no necesariamente significan que una empresa está trabajando en un producto, y en muchos casos, las tecnologías que se registran no siempre se convierten en una realidad. Sin embargo, lo que sí es una realidad es la creciente expectativa de que Apple se una a la tendencia de dispositivos plegables.
¿De qué se trata la patente?
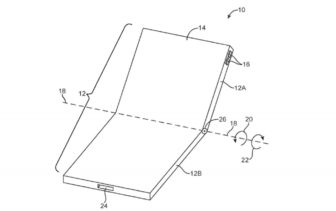
La patente de Apple se llama “Flexible Display Devices” y revela los avances en los que, al parecer, la empresa ha estado trabajando durante un par de años.

La patente revela dispositivos con dos y tres pantallas que se doblan gracias a una o dos bisagras, lo que parece indicar que la empresa está pensando en desarrollar dispositivos que permitan tener acceso a una pantalla aún cuando el teléfono o tableta estén doblados hacia adentro o hacia afuera. “La bisagra permitirá que la pantalla sea movida frente a frente o que se den la espalda”, dice parte de la descripción de la patente.
La publicación Let’s Go Digital fue un paso más allá, y basándose en las imágenes de las patentes, trabajó en crear una imagen renderizada que revela cómo se verían estos iPhones con pantalla plegable.
Hasta ahora, Apple ha sido uno de los únicos gigantes que no ha revelado o anunciado un dispositivo que cuente con esta tecnología. Sin embargo, la empresa siempre se ha caracterizado por mantener el más absoluto secreto sobre sus dispositivos hasta el día en que anuncian sus novedades.
Rumores anteriores
El año pasado, un reporte de un analista de la institución financiera Bank of America indicó que Apple podría lanzar un iPhone con una pantalla plegable en los próximos años, que incluiría la tecnología que ya fue patentada anteriormente por la compañía tecnológica. El informe predice que el primer iPhone plegable, o un dispositivo similar de Apple, podría lanzarse tan pronto como en el año 2020.
En una nota dirigida a los inversores, el analista de Merrill Lynch del Bank of America, Wamsi Mohan, escribió que Apple está “trabajando en un teléfono plegable”. Según informó CNBC, el analista aseguró que el dispositivo en cuestión podría ser presentado dentro de dos años, en base a sus reuniones con varios proveedores de Apple en Asia.
Mohan también sugirió que la naturaleza plegable del teléfono inteligente podría darle otro importante punto de venta, ya que la posibilidad de doblar una pantalla más grande, y convertirla del tamaño de un teléfono regular, significa que su función potencialmente se podría duplicar como una tableta. En teoría, y de ser ciertos los rumores, un producto de esta índole daría a los usuarios los beneficios y funciones de un dispositivo de pantalla más grande, como un iPad o iPad mini, y al mismo tiempo la portabilidad de un teléfono inteligente.
En los últimos años, Apple ha presentado solicitudes para patentes en el campo de dispositivos plegables, incluida la patente para “Dispositivos de visualización flexibles”, que fue otorgada en el 2016 y que utilizaba una pantalla OLED flexible con un cuerpo principal con bisagras. Otra solicitud a la oficina de patentes fue hecha en octubre del 2017, para “Dispositivos electrónicos con pantallas”, que representaba otra versión donde una sección flexible en el centro del teléfono permitiría que todo el cuerpo del dispositivo se doble, sin presentar una línea de separación ni una bisagra visible.
No esperamos que este año llegue un iPhone o iPad flexibles, pero Apple definitivamente se está preparando para lo que podría ser la próxima evolución de los smartphones y tabletas.
